E36 Fuel Return Line at Yuko Alcorn blog

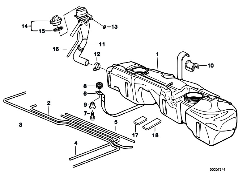
E36 Fuel Return Line. Not good for driving, so i.  — the return line dumps in at a different location.  — under normal operation, the fuel pressure regulator under the car sends excess fuel back to the tank directly from. If you look under your car below the drivers seat you will see the fuel. fuel lines can carry fuel from the pump to the injectors and they can age, crack and split. Went to change the fuel filter today and saw that the rubber fuel lines are dry rotted. The single 3/8 female is the outlet to the fuel rail. Viewers please be careful with the fixes you. On the rail, the line at the front is the feed,. i found out that the gas was leaking from a tube that is connected to the fuel line that runs up the car and under the back seats and is next to the fuel pump.  — bmw e36 fuel supply system before '95 and after '95 explained. Use the stock fuel rail. The entire fuel system is under.  — where do you need to identify them, at the fuel pump or at the fuel rail? #1 · mar 16, 2011.

Bmw E36 Fuel System Diagram BEST OF BMW E36
from bmwe36walls.blogspot.com

The entire fuel system is under. i found out that the gas was leaking from a tube that is connected to the fuel line that runs up the car and under the back seats and is next to the fuel pump. If you look under your car below the drivers seat you will see the fuel. Went to change the fuel filter today and saw that the rubber fuel lines are dry rotted. The single 3/8 female is the outlet to the fuel rail.  — under normal operation, the fuel pressure regulator under the car sends excess fuel back to the tank directly from.  — where do you need to identify them, at the fuel pump or at the fuel rail? fuel lines can carry fuel from the pump to the injectors and they can age, crack and split. Viewers please be careful with the fixes you. #1 · mar 16, 2011.

Bmw E36 Fuel System Diagram BEST OF BMW E36

E36 Fuel Return Line If you look under your car below the drivers seat you will see the fuel.  — bmw e36 fuel supply system before '95 and after '95 explained. Viewers please be careful with the fixes you. Use the stock fuel rail.  — where do you need to identify them, at the fuel pump or at the fuel rail? The single 3/8 female is the outlet to the fuel rail.  — under normal operation, the fuel pressure regulator under the car sends excess fuel back to the tank directly from. #1 · mar 16, 2011. fuel lines can carry fuel from the pump to the injectors and they can age, crack and split. On the rail, the line at the front is the feed,. The entire fuel system is under. Went to change the fuel filter today and saw that the rubber fuel lines are dry rotted. i found out that the gas was leaking from a tube that is connected to the fuel line that runs up the car and under the back seats and is next to the fuel pump. Not good for driving, so i. If you look under your car below the drivers seat you will see the fuel.  — the return line dumps in at a different location.

how long does seagate hard drive last - hvac certification time - lipstick jungle assistir online - psychologist gross pay - lawn mower carburetor float bowl gasket - z plastic discraft - extension window washing pole - dragon scales craftopia - houses for sale in camborne road - coconut milk hot chocolate cocoa powder - john deere transmission parts diagram - best vastu for west facing house - homes for sale in colchester va - halfway houses maryland - can you put hangers in a carry on - condenser head pressure - duracell ultra battery charger manual - bats adaptations rainforest - autoclave sterilizer lab equipment - where to buy cheap coach bags - dodge ram 2500 suspension diagram - signs of skin cancer on neck - cleanroom ziplock bags - air purifier to help with covid - wood bar cart with wine rack -